A배열에서 B배열로 옮기는 알고리즘 A(3,4) -> B(4,3)
핸드폰 | 2025년 12월 01일 06시 58분A배열 -> B배열로 옮기는 알고리즘
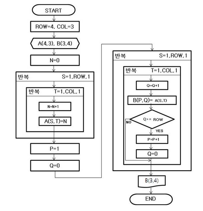
정보처리기사 실기 2012년도 제1회 때 나온 A 배열에서 B 배열로 옮기는 알고리즘 이 출제된 적이 있습니다. 알고리즘은 크게 어렵지 않고, 아주 간단합니다. 그럼 순서도를 살펴볼까요?
순서도
순서도를 간략하게 설명하겠습니다. ROW=4, COL=3 은 A[4][3] 을 의미합니다. 즉, 4행 3열이죠.

| 1 | 2 | 3 |
| 4 | 5 | 6 |
| 7 | 8 | 9 |
| 10 | 11 | 12 |
이런 식으로 데이터가 들어가게 됩니다. 밑에 보면 반복문이 배열에 데이터가 입력이 되는 부분입니다. 그래서 빈칸이었던 N=N+1 이 답이 되죠.
오른쪽 반복문은 A(4,3) -> B(3,4)로 옮기는 과정을 나타냅니다. 변수 P는 행, Q는 열을 나타냅니다. 중간에 분기점 Q>=ROW 경우에는 배열 B(P, Q)에서 열 부분이 4까지 진행이 되었으면, 다시 행을 증가시키기 위해서 분기점을 사용한 것입니다.
C언어 코딩
VC++6.0으로 코딩을 한 모습입니다. 간단하죠? 알고리즘을 그대로 본떠서 작성하였습니다. 설명은 주석을 통해서 보시면 되겠습니다.

결과
출력이 정상적으로 되었네요.
